Garaaži katus vajab vahetamist.
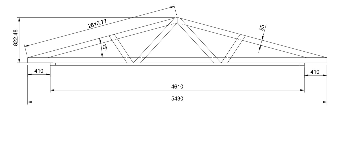
Seinad 200mm paksusest tuhaplokist, ilma ülemise valatud betoonvööta, välismõõdud 6590x4610, asukoht Anija vald.
Plaanin viilkatust, kalle 15 kraadi, katusekatteks kas OSB+SBS või aluskate, distantsliist, roovitus, profiilplekk. Alumise vöö külge roovitus, aurutõke, kips. Soojustuseks tõenäoliselt puistevill.
Küsimus: Kas 600mm sammuga on selline ferm piisav (45x95 C24 materjal, joonisel lisamata vineerist ühenduslapid)?
Garaaži katuse konstruktsioon
-
abe
- Korralik postitaja

- Postitusi: 212
- Liitunud: 30 Dets 2009, 15:38
- On tänanud: 1 korda
- On tänatud: 2 korda
Hüppa
- Ehitusfoorum
- ↳ Üldfoorum
- ↳ Ahjud, kaminad, korstnad
- ↳ Aiad, väravad
- ↳ Aknad, uksed
- ↳ Betoon ja betoonitooted
- ↳ Ehitustööriistad
- ↳ Ehitusmaterjalid
- ↳ Elekter, elektriseadmed
- ↳ Energiamärgis ja energiaaudit
- ↳ Fassaadide arutelu
- ↳ Katused, laed
- ↳ Hüdroisolatsioon
- ↳ Kaevud
- ↳ Konstruktsioonid, seinad
- ↳ Küttesüsteemid
- ↳ Palkmajad
- ↳ Projekteerimine, projektid
- ↳ Põrandad
- ↳ Puit ja puidutooted
- ↳ Restaureerimine
- ↳ Seadusandlus
- ↳ Soojustus, isolatsioon
- ↳ Saunad, dussiruumid, vannitoad, sanitaartehnika
- ↳ Siseviimistlus, värvid, plaatimistööd
- ↳ Ventilatsioon
- ↳ Veevarustus, kanalisatsioon, käimlad
- ↳ Vundamendid
- ↳ Naljanurk
- ↳ Arhiiv
- Ärifoorumid
- ↳ Otsin tööd
- ↳ Pakun tööd
- ↳ Ostu-müügifoorum
- ↳ Annan/võtan rendile
- ↳ Hinnapäring